Cenário Mundial dos Posicionadores de Válvulas, com Foco no Brasil e América do Sul
O mercado global de posicionadores de válvulas segue em crescimento constante, impulsionado pela modernização de plantas, manutenção preditiva e adoção da Indústria 4.0. Em 2025, o mercado mundial foi projetado em cerca de USD 2,07 bilhões, com expectativa de alcançar USD 2,56 bilhões até 2030, registrando CAGR de aproximadamente 4,4 %.
A Ásia-Pacífico continua liderando, mas a América Latina apresenta crescimento estável. O mercado latino-americano de posicionadores de válvulas deve atingir USD 208,8 milhões até 2033, com CAGR de 3,9 %.
O Brasil é o principal mercado da região, respondendo por grande parte do volume sul-americano. Em 2024, o mercado brasileiro de posicionadores gerou USD 48,5 milhões e deve crescer para USD 70,0 milhões até 2033. Esse crescimento é sustentado principalmente pelos setores de óleo e gás (pré-sal onshore e offshore), refino, petroquímica, mineração, papel e celulose, geração de energia e saneamento.
No Brasil e na América do Sul, ainda existe uma base instalada significativa de posicionadores analógicos tradicionais. No entanto, a migração para modelos digitais inteligentes (HART e PROFIBUS PA) tem se acelerado devido à necessidade de reduzir consumo de ar comprimido, aumentar a confiabilidade e implementar diagnósticos preditivos. Fabricantes globais dominam o segmento premium, enquanto empresas nacionais como a Vivace Process Instruments conquistam participação relevante com tecnologia de ponta, custo competitivo, fabricação nacional e suporte técnico local ágil.
Posicionadores analógicos com braços mecânicos: princípio de funcionamento e limitações
Os posicionadores analógicos são os modelos mais tradicionais e ainda muito presentes em plantas brasileiras mais antigas ou em aplicações menos críticas.
Funcionamento básico:
Recebem um sinal de entrada (4-20 mA ou pneumático) e utilizam um braço mecânico (linkage ou cam) acoplado à haste ou eixo da válvula para fornecer o feedback de posição. Esse feedback mecânico é comparado ao setpoint por meio de um sistema de alavancas que atua sobre uma válvula pneumática ou conversor I/P, ajustando a pressão de ar no atuador até que a posição real coincida com a desejada.
Vantagens
– Baixo custo inicial;
– Robustez em ambientes com ar de instrumentação de qualidade variável.
Principais limitações:
– Desgaste mecânico do braço, pivôs e came, gerando folgas, histerese e perda de precisão ao longo do tempo;
– Alto consumo constante de ar comprimido;
– Ausência completa de diagnósticos;
– Sensibilidade a vibrações, temperatura e corrosão;
– Necessidade frequente de calibração manual e manutenção corretiva.
Essas limitações representam uma oportunidade significativa de retrofit em indústrias brasileiras, onde a substituição por posicionadores digitais pode trazer retorno rápido do investimento.
O posicionador de válvula é de extrema importância em qualquer área industrial, trabalhando como elemento final de controle acoplado a atuadores e válvulas, onde deve atender a uma série de requisitos operacionais e de segurança que com a utilização da tecnologia do sensor Hall pode-se conseguir facilmente:
– Alta sensibilidade;
– Suportar altas temperaturas;
– Erros desprezíveis de linearidade;
– Erros desprezíveis com vibração;
– Repetibilidade e estabilidade, minimizando consumos e reduzindo a variabilidade dos processos;
– Alta confiabilidade, garantindo continuidade e segurança operacional;
– Versatilidade, flexibilidade de uso independente do fabricante e tipo de válvula/atuador, assim como o curso de movimento, facilitando adequação a novas demandas;
– Fácil operação, com mínimos ajustes, simplificando instalação, operação e manutenção, reduzindo o downtime de operação;
– Prover funções avançadas de diagnose, proporcionando redução de custos operacionais e de manutenção, economia de tempo e melhorando a condição do processo, garantindo a otimização e melhoria continua dos processos.
O VVP10 da Vivace: funcionamento, características, aplicações e vantagens

Desenvolvido e fabricado 100 % no Brasil pela Vivace Process Instruments (Cravinhos – SP), o VVP10 é um posicionador inteligente de última geração, disponível nas versões:
– VVP10-H → HART 7 / 4-20 mA
– VVP10-P → PROFIBUS PA
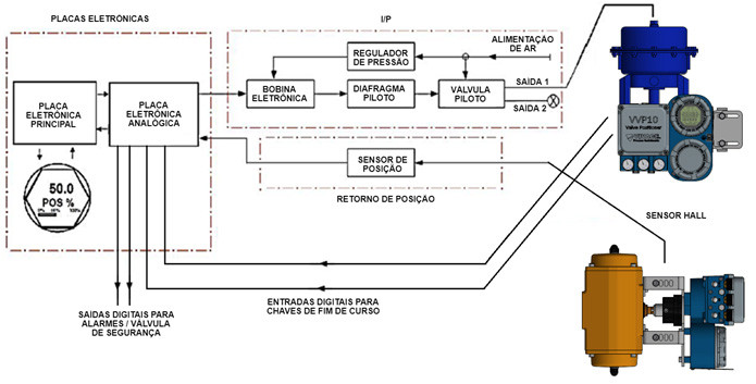
Princípio de funcionamento:
O VVP10 opera em ciclo fechado totalmente digital:
1. Recebe o setpoint (4-20 mA com HART ou via PROFIBUS PA).
2. Microprocessador executa algoritmo PID avançado com autotuning automático.
3. Bobina eletrônica integrada (tecnologia I/P) controla o módulo pneumático.
4. Feedback sem contato: sensor Hall detecta a posição de um ímã fixado na haste ou eixo da válvula – sem braço mecânico, sem atrito e sem desgaste.
5. O loop se fecha continuamente, garantindo alta precisão.
O sensor pode ser local ou remoto (com cabo blindado), permitindo instalação em locais de alta vibração ou temperatura elevada (até 105 °C no sensor remoto).

Figura 1 – Diagrama de Blocos VVP10
Principais características técnicas:

Aplicações:
– Válvulas de controle lineares e rotativas (globo, esfera, borboleta etc.) de qualquer fabricante e porte.
– Setores: óleo e gás (onshore/offshore), refino, petroquímica, mineração, papel e celulose, energia e saneamento etc.
– Ambientes severos com alta vibração, temperatura elevada ou acesso difícil (sensor remoto).
– Plantas que exigem integração com DCS via HART ou PROFIBUS PA e manutenção preditiva.
Vantagens competitivas:
– Zero desgaste mecânico – elimina braços, alavancas e folgas;
– Redução de até 50-70 % no consumo de ar comprimido;
– Diagnósticos avançados que permitem prever falhas antes que ocorram;
– Instalação e comissionamento extremamente rápidos (autocalibração);
– Alta robustez em ar de instrumentação real (sem baixa isolação);
– Suporte técnico 100 % nacional e excelente custo-benefício;
– Garantia de fábrica vitalícia;
– Menor custo total de propriedade (TCO) – ROI geralmente em poucos meses.
Ágile:
Trocar um equipamento PROFIBUS-PA durante a operação é daqueles momentos que ninguém gosta de viver, né?
A gente já conhece o roteiro:
– O posicionador (ou transmissor) falha de repente;
– A válvula vai para manual;
– A produção tem que manter a produtividade e requer agilidade no retorno;
– E a manutenção entra em modo “corrida contra o tempo”.
Aí vem a parte mais complicada:
“Não temos peça idêntica no estoque… só tem de outro fabricante.”
E começa o receio:
– Será que vou ter que mexer no mestre?
– Preciso parar a rede PA?
– Baixar GSD novo, reconfigurar, fazer download ,validar tudo de novo…
– E o medo constante: será que isso afeta outros loops? Será que a comunicação vai parar?
É estressante porque não é só trocar um dispositivo.
É garantir endereço certo, mapeamento de blocos, reconhecimento pelo mestre DP, sem impacto nos outros nós.
Em uma rede PROFIBUS-PA, uma troca “simples” pode virar uma intervenção bem maior do que a gente gostaria.
Mas existe um caminho mais tranquilo.
Com a funcionalidade Ágile da linha PROFIBUS-PA da Vivace, a troca fica muito mais simples:
– Instala o novo equipamento (posicionador, transmissor etc.);
– Configura o mesmo endereço PROFIBUS-PA que o anterior;
– Faz a autocalibração e autossintonia;
– E… está funcionando.
Sem alterar GSD.
Sem parar o mestre PROFIBUS-DP.
Sem download emergencial.
Sem precisar revalidar malha inteira.
A rede continua rodando normalmente.
A produção retoma rapidamente.
E você consegue voltar ao controle de forma rápida e segura.
É exatamente isso que a gente busca em manutenção: resolver o problema sem criar novos.

Figura 3 – Ágile | Configuração Cíclica Automática
Se você quiser saber mais sobre como isso pode ajudar na sua planta, é só entrar em contato:
📧 contato@vivaceinstruments.com.br
📱 (16) 3482-1238 / 3482-1344
Conclusão
Pudemos ver nesse breve artigo alguns detalhes do VVP10-P, posicionador baseado em tecnologia digital com sensor Hall. A flexibilidade, recursividade e geração de diagnósticos avançados facilitam as condições de manutenção preventiva, preditiva e proativa.
Para mais detalhes, consulte aqui.
Referências:
– Material de Treinamento PROFIBUS – César Cassiolato
– https://www.vivaceinstruments.com.br/

